Revolutionary device for vertically securing hose installation

  • UNIVERSIDAD DE BURGOS
  • From Spain
  • Responsive
  • Patents for licensing

Summary of the technology

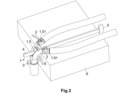
Researchers from the University of Burgos have designed an innovative device for the vertical installation of hoses, specifically used by firefighting teams, with the aim of improving working conditions and reducing risks during operations. The device addresses the deficiencies and limitations of existing devices in the market. Among its advantages, it stands out for its ability to provide a secure anchoring point in various locations, its adjustable width to accommodate different hose sizes, its prevention of hose collapse, and its reduced weight for easier transportation and placement.

UNIVERSIDAD DE BURGOS
UNIVERSIDAD DE BURGOS

Details of the Technology Offer

New and innovative aspects

- Secure and adaptable anchoring: The device provides a secure and adaptable anchoring point in different locations for versatile installation.
- Dual non-branching outlets: The device features two integrated outlets that allow connecting two hoses without the need for an additional branching device, reducing volume and weight.
- Independent ball valves: The device has independent ball valves to regulate the water flow in each hose, providing individualized control.
- Integration of fastening and braking elements: The device incorporates fastening elements and a brake to improve anchoring and stability during use.
- Additive manufacturing: The device is manufactured using additive manufacturing technology, allowing flexibility in design and production.
- Improvement of working conditions: The patent aims to improve working conditions by reducing risks such as hose breaks, falls, and flow limitations, providing greater safety and efficiency in firefighting interventions.

Main advantages of its use

The dual-opening securing device offers the following advantages:
- Secure anchoring in different locations.
- Adaptability in width for versatile installation.
- Direct connection of two hoses without the need for an additional branching device.
- Independent control of water flow using ball valves.
- Improved stability with integrated fastening and braking elements.
- Efficient and flexible manufacturing using additive technology.
- Reduction of occupational hazards, such as hose breaks and falls, improving firefighter safety.

Specifications

The device features secure anchoring, adaptability in width, independent control of water flow, integrated fastening and braking elements, additive manufacturing, and offers improvements in stability and reduction of occupational hazards.

Applications

This device, due to its technical features and the advantages it offers, could be employed in the following settings/by the following entities:
- Firefighting departments
- Emergency services
- High-rise buildings
- Naval industry
- Petrochemical industry

Intellectual property status

Protected by patent P202330365

Current development status

Prototype available for demonstration.

Desired business relationship

Trade Agreement, License Agreement, Technical cooperation: further development, Technical Cooperation: testing of new applications; Technical Cooperation: adaptation to specific needs.

Intellectual property status

Related Keywords

  • Protecting Man and Environment
  • Building
  • Industrial Products
  • Other
  • Additive Manufacturing
  • vertical hose installation
  • firefighting

About UNIVERSIDAD DE BURGOS

The aim of The Knowledge Transfer Office (KTO) of the University of Burgos is to promote Innovation technology through the research results transfer and the connections between the University and the new needs and requirements of the society - we are the link between the University and the Industry. Contact person: José Manuel López (jmllopez@ubu.es)

UNIVERSIDAD DE BURGOS

Never miss an update from UNIVERSIDAD DE BURGOS

Create your free account to connect with UNIVERSIDAD DE BURGOS and thousands of other innovative organizations and professionals worldwide

UNIVERSIDAD DE BURGOS

Send a request for information
to UNIVERSIDAD DE BURGOS

About Technology Offers

Technology Offers on Agri-Food are directly posted
and managed by its members as well as evaluation of requests for information. Agri-Food is the trusted open innovation and science network aimed at directly connect industry needs with professionals online.

Help

Need help requesting additional information or have questions regarding this Technology Offer?
Contact Agri-Food support